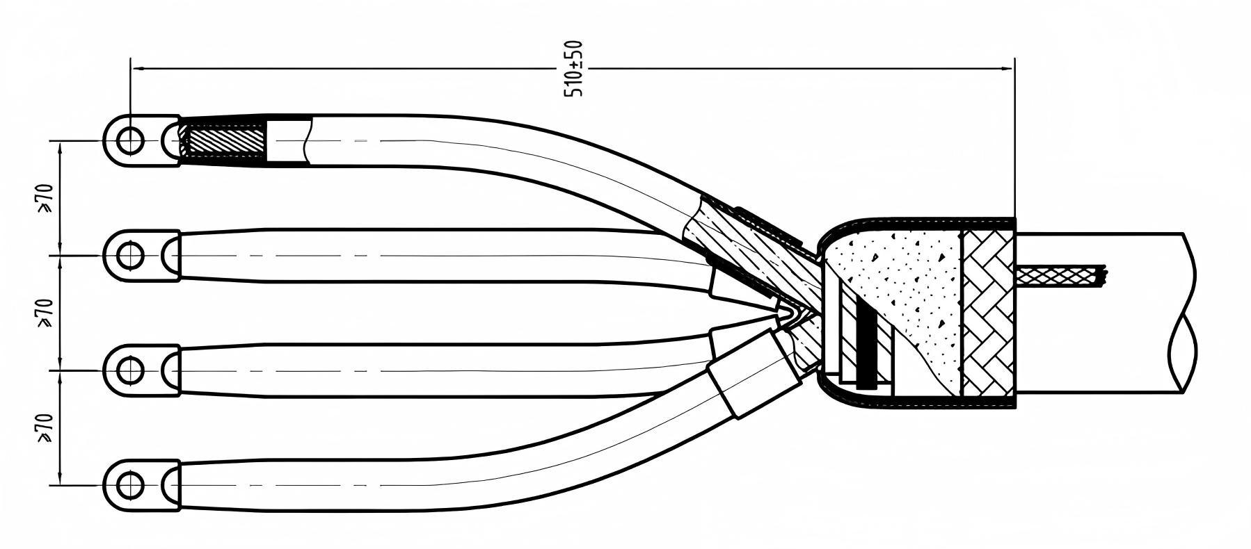
The 0.6/1 kV Cold-Shrinkable XLPE Cable Accessories are designed for reliable and efficient termination or jointing of low-voltage power cables.
Description: The 0.6/1 kV Cold-Shrinkable XLPE Cable Accessories are designed for reliable and efficient termination or jointing of low-voltage power cables.
Manufactured using high-quality silicone rubber and advanced cold-shrink technology, these accessories ensure easy installation without the need for heat sources, providing enhanced safety and performance. They are suitable for copper or aluminum conductor XLPE-insulated cables across a wide range of cross-sectional areas.
Rated Voltage: 0.6/1 kV;
The cross section of the cable shall apply: 25 mm² to 400 mm²;
Application:
1.Low-voltage distribution networks (0.6/1 kV)
2.Industrial power supply systems
3.Infrastructure and building wiring
4.Electrical connections in renewable energy projects (e.g., solar farms)

| Functional Test | |
| AC voltage (5 mins) | 8 kV |
| AC voltage (wet, 1 min) | 7.2 kV |
| Heating cycles voltage test (95~100℃, 1 cycle shall be of 8h,total 60 cycles) | No breakdown nor flashover |
Our cables, wires, conductors are usually packed in wood drum, Iron-wooden drum. Steel reel will also be used if required by client. For some short length, such as 50m, 150m, 300m, the conductor can also be packed in coil.
Product standard, Conductor Size, Quantity, Sea port/Airport for delivery, etc.
Usually we will quote to you within 24 hours after get your detailed inquiry information
We have exported to 100+ countries/area. We have rich export experience and will try our best to serve you and meet your needs. You can contact us for detailed communications.
Normally we offer EXW,FCA,FOB,CNF,CIF according to customer requirements.
According to different order quantity, the lead time is different. Normally it is 7- 30 days for production. For large quantities, the goods will be shipped in partial times according to schedule.